阿摩線上測驗
登入
首頁
>
流體力學
> 98年 - 98 原住民族特種考試_三等_機械工程:流體力學#34490
98年 - 98 原住民族特種考試_三等_機械工程:流體力學#34490
科目:
流體力學 |
年份:
98年 |
選擇題數:
0 |
申論題數:
7
試卷資訊
所屬科目:
流體力學
選擇題 (0)
申論題 (7)
⑴ streamline(10 分)
⑵ pathline(10 分)
⑴試問此流場為旋轉流(rotational flow)或非旋轉流(irrotational flow)?(10 分)
⑵此流場是否有加速度?若有加速度為何?(10 分)
【已刪除】三、有一非旋轉流場其速度勢表示為
,若在位置
處壓力為零, 試求此一流場中之最大壓力。(20 分)
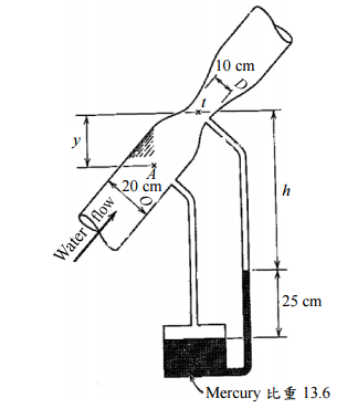
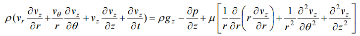
【已刪除】四、有一文氏管安裝在直徑 20 公分的水管上,喉部之直徑為 10 公分,如下圖所示,水是 向上方流動,若壓力計的讀數為 25 公分的水銀柱,試求在喉部 t 點的流速。(20 分)
【已刪除】五、有一水平圓管,管中流體受壓力梯度作用而產生軸對稱穩定流動,若流體為不可壓 縮流且其黏性係數為µ ,管的直徑為 D,試求管中的層流的速度分布。(20 分) 運動方程式: