所屬科目:A.電工原理、B.電子概論
1. 單位正電荷在電場中所受之力,稱之?(A)介質強度 (B)電場強度 (C)電場密度 (D)磁場密度
2. 利用重疊定理分析直流迴路,每次應單獨考慮一個電源,此時其他的電源應如何處理?(A)電壓源短路,電流源開路(B)電壓源開路,電流源短路(C)電壓源及電流源皆短路(D)電壓源及電流源皆開路
3. 有一色碼電阻器,其各環顏色依序為黃紫紅金,則其電阻值及誤差率分別為?(A)4.7kΩ±5% (B) 4.7kΩ±10% (C) 4.7MΩ±5% (D) 4.7MΩ±10%
4. 有關並聯電路之敘述,下列何者錯誤?(A)並聯電路的負載電壓皆相同(B)並聯負載越多時,電路總電流越小(C)並聯電路中有一負載斷路時,則其它負載均不受影響(D)
5. 若有三個系統串聯使用,其每個系統的效率為90%、80%、50%,若輸入能量為1000W,則總輸出能量為多少W? (A)280 (B)320 (C)360 (D)400
6. 將12μF、12μF、3μF三個電容器串聯,等效電容量為多少?(A) 27μF (B) 16μF (C) 12μF (D) 2μF
7. 一只100μF之電容器跨接於200V之直流電源,則該電容器所儲存的電量為多少C?(A) 20 (B) 2 (C) 0.2 (D) 0.02
8. 以一只12V、40Ah的蓄電池,供應一只1.2W的燈泡,最多可以使用多少小時?(A)480 (B)400 (C)40 (D)10
9.某一系統的能量轉換效率為80%,若損失功率是400W,則該系統的輸出功率是多少W?(A) 3200 (B) 2000 (C) 1600 (D) 500
10. 有一只10Ω電阻器流經10A電流1分鐘,產生熱量多少卡?(A) 6×104 (B) 1.44×104 (C) 1.44×103(D) 1.44×102
11. 有一規格為100V/1000W的電熱器,若外接於50V的電源,則其消耗功率為多少W?(A) 1000 (B) 500 (C) 250 (D) 125
12. 三電阻之值分別為R、4kΩ、6kΩ,串聯接於12V電壓,若流過4kΩ電阻的電流為0.5mA,則電阻R值為? (A)4kΩ (B) 6kΩ (C) 8kΩ (D) 14kΩ
13. 若將平板電容器極板面積減少為原來的一半,並將極板間的距離改變為原來的2倍,且介電係數不變,則改變後的電容器之電容值為原來的幾倍? (A) 0.25 (B) 0.5 (C) 2 (D) 4
14. 有關RC暫態電路在放電期間,下列敘述,何者正確?(A)電路電流方向充、放電皆相同(B)穩態時,電容兩端的電壓等於0(C)開關切置放電位置瞬間,電容壓降等於0(D)電路電流由小至大變化
15. 有一電路經量測後發現其電壓為v(t)= 10 sin (ωt + 30°),電流為i(t)= 5 sin (ωt + 60°),則此電路電流相位與電壓相位關係為何? (A)電流超前電壓60° (B)電流落後電壓60° (C)電流超前電壓30° (D)電流落後電壓30°
16.有一電壓,其電壓方程式為v(t)= 10sin(100πt + 30°),則此電壓在t = 秒時電壓為多少?(A)10V (B)15V (C)20V (D)30V
17. 交流RL串聯電路中,電源電壓=100∠0°V,已知R = 15Ω,XL= 20Ω,則電路的功率因數應為何?(A) 0.6 (B) 0.707 (C) 0.8 (D) 0.866
18. 交流RLC串聯電路中,電阻為10Ω,電感抗為10Ω及電容抗為20Ω,則此電路之總阻抗大小為何?(A) 20Ω (B) 20Ω (C)10Ω (D)10Ω
19. 並聯諧振時,電路之阻抗?(A)最大 (B)最小 (C)零 (D)不一定
20. 三相平衡系統,負載接成三角形,若相電壓為120V,相電流為10A,相位角為60°,求系統之總功率為多少W? (A)1200 (B)1500 (C)1800 (D)2000
21. 如圖【1】中之I1 = 2A,I2 = − 1A,I3 = 3A,則I4為多少?(A) 0A(B) 2A(C) 4A(D) 6A
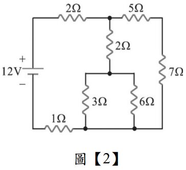
22. 如圖【2】所示之電路,則3Ω電阻消耗之功率為多少?(A)1.5W(B)3W(C)4.5W(D)6W
23. 某工廠平均每小時耗電300kW,功率因數為0.6,若想將功率因數提高至0.8,應並聯電容器之QC為多少? (A) 125 kVAR (B) 60 kVAR (C) 100 kVAR (D) 175 kVAR
24. 將n個相同之電阻串聯後,兩端加上固定電壓,其消耗之功率P1與將此n個電阻並聯加 上同樣電壓時所消耗之功率P2相比,得等於? (A) n (B) (C) n2 (D)
25. 如圖【3】電路,其中的電流I為何?(A) 7A(B) 5A(C) 3A(D) 1A
26. 對一處於絕對零度之本質半導體,在此本質半導體之兩端加一電壓;若此本質半導體並未發生崩潰,則在本質半導體內為? (A)有電子流,也有電洞流 (B)有電子流,但沒有電洞流 (C)沒有電子流,但有電洞流 (D)沒有電子流,也沒有電洞流
27. 純半導體中最常使用的材料為矽(Si)和鍺(Ge),兩者皆為幾價元素?(A)三 (B)四 (C)五 (D)二
28. 某電源供給電路,在無負載時輸出電壓為500V,滿載時輸出電壓降至400V,則其電壓調整百分率V.R.%為? (A) 25% (B) 20% (C) 15% (D) 10%
29. 橋式全波整流器中,每個二極體的峰值逆向電壓約為輸入弦波峰值的幾倍?(A) 4 (B) 3 (C) 2 (D) 1
30. 某全波整流電路中,已知輸入峰值電壓為110V,則其輸出直流電壓約多少V?(A) 70 (B) 85 (C) 95 (D) 110
31. 一個60Hz的交流電壓經全波整流後,則在負載上之電壓波形的頻率為多少?(A) 240Hz (B) 180Hz (C) 120Hz (D) 60Hz
32. 下列哪一項是主動元件?(A)天線線圈 (B)電容器 (C)電晶體 (D)電阻
33. 某NPN型雙極性接面電晶體,若流入各極的電流取正值,且已知基極電流是0.2mA,集極電流是1.8mA,則射極電流值為何? (A) 1.8mA (B) 2mA (C) -1.8mA (D) -2mA
34. 下列元件編號,何者不是電晶體?(A) C1815 (B) 1N4004 (C) CS9013 (D) 2N2222
35. 電壓增益為100的放大器,電流增益為10,則其功率增益為?(A) 50dB (B) 40dB (C) 30dB (D) 20dB
36. 有一變壓器的匝數比為10:1。若在低壓側接上一個8Ω的揚聲器,請問在高壓側測得的阻抗為何? (A) 800Ω (B) 80Ω (C) 8Ω (D) 0.8Ω
37. 下列哪些因素會影響雙極性電晶體放大電路的高頻響應?(A)射極旁路電容 (B)電晶體的雜散電容(C)基極耦合電容 (D)集極耦合電容
38. 對一簡易音響系統而言,功率增益加倍時,音量應增加約多少dB值?(A) 20 (B) 10 (C) 5 (D) 3
39. 某放大器在25Ω的負載下,輸出為10dBm;則其輸出電壓為多少?(A) 10mV (B) 0.1V (C) 0.5V (D) 0.25V
40. N通道增強型MOSFET欲使之導通,則閘極源極間電壓VGS應加何種偏壓?(A) 0V (B)負電壓(C)小於臨界電壓VT之正電壓 (D)大於臨界電壓VT之正電壓
41. P通道之場效應電晶體FET的電荷載子為?(A)電洞 (B)主載子為電子,副載子為電洞(C)主載子為電洞,副載子為電子 (D)電子
42. 增強型MOSFET之VDS=4V,元件參數K=0.5mA/V2 ,臨界電壓VT=2V,ID=2mA,若忽略通道長度調變效應,問VGS值應為何? (A) 5V (B) 4V (C) 3V (D) 0V
43. 場效應電晶體(FET)之共汲極放大器具有下列何種特性?(A)高輸入阻抗,低輸出阻抗 (B)低輸入阻抗,高輸出阻抗(C)低輸入阻抗,低輸出阻抗 (D)高輸入阻抗,高輸出阻抗
44. 在共汲極金氧半場效體電路中,設其互導為8000µS,源極負載電阻Rs=500Ω,則此放大器的電壓增益約可估計為?(A) 16(B) 4(C) 0.8(D) 0.16
45. 哈特萊振盪器的反饋(feedback)網路通常由什麼組成?(A) 一個電感,一個電容(B) 二個電感,一個電容(C) 三個電感(D) 三個電容
46. 想用電子電路來達成振盪器之功能,其首要條件為何?(A) 具有LC儲能電路(B) 具有負回授(C) 具有正回授(D) 具有RC相移電路
47. 某一脈波之寬度為0.5ms,且頻率為400Hz,則此脈波之工作週期為?(A) 20%(B) 15%(C) 12%(D) 10%
48. 一正弦交流電壓之有效值為110V,則此正弦波形之峰對峰值約為何?(A) 99.9V(B) 155.6V(C) 220.3V(D) 311.1V
49. 如圖【4】所示,已知二極體為理想,電路中電流I約為多少?(A)0mA(B) 1mA(C) 2mA(D) 5mA
50. 如圖【5】所示,已知電晶體之ẞ = 200,VBE=0.7V,則集極電壓V⊂約為?(A) 8V(B) 9V(C) 11V(D) 13V
1. 有一交流發電機,轉速為360rpm磁極數為30極,則其電勢之頻率為_____Hz。
2. 有一導線的截面積在5秒鐘內通過20C的電荷量,則電流為_____A。
3. 有一電信公司提供網路服務,速率高達100,000,000bps,為了讓消費者容易了解,可改寫為_____Mbps。
4. 有一發電機有八個磁極,要獲得一個週期的正弦波感應電勢,則導體在空間中必須旋轉_____度。
5. 每相阻抗為10∠60°Ω的Y型負載,接於200V的三相電源,則該負載的總有效功率為_____W。
6. 一接面場效電晶體,當VGS=0V時IDSS=9mA,若VGS=-6V時ID=0A,求當VGs=-3V時之ID電流大小為_____mA(註:請以「小數」方式呈現作答,並取至小數第二位,四捨五入)
7. 如圖【6】之反相放大器中,其電壓增益為多少dB值? ________dB
8. 如圖【7】所示之理想運算放大器電路,其電壓增益為________
9. 如圖【8】所示,其輸出電壓V₀為 __V。
10. 如圖【9】,已知R₂=1kΩ,R₁=4kΩ,R=1kΩ,C=1µF,求輸出端V₀之頻率為__kHz。